お、すっげ。
持続化給付金とかお金返していない方、
経産省が公表始めたって聞いたけど。
マジで名前と市町村までの所在地載ってんな。
悪いことは出来んな。
お、すっげ。
— Joji Cokumu(ボク悪いスライムじゃないよ!目玉いっぱい赤字貿易経営者!毒の人ではない) (@_596_) July 6, 2023
持続化給付金とかお金返していない方、
経産省が公表始めたって聞いたけど。
マジで名前と市町村までの所在地載ってんな。
悪いことは出来んな。
引用元:不正受給者の公表について (METI/経済産業省)https://t.co/PSeAczmHAX pic.twitter.com/3JZGpA29UZ
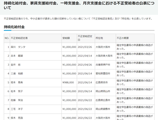
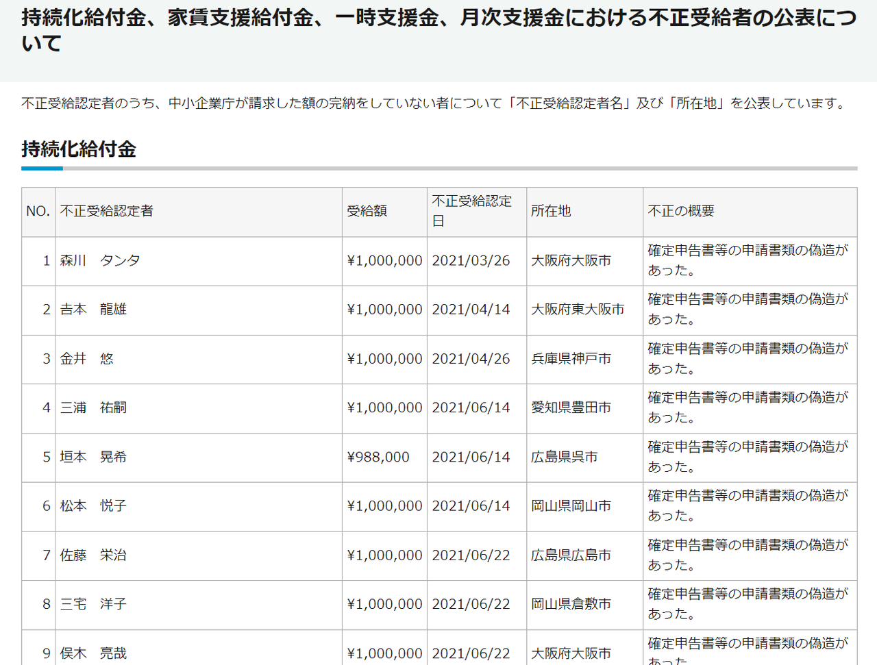
持続化給付金、家賃支援給付金、一時支援金、月次支援金における不正受給者の公表について
https://www.meti.go.jp/covid-19/fusei_nintei.html
不正受給認定者のうち、中小企業庁が請求した額の完納をしていない者について「不正受給認定者名」及び「所在地」を公表しています。
この記事への反応
知り合いいないか探しちゃった。
いいぞぉ
もっとやれ
これとマイナンバーが紐付いていれば面白かったなぁ
広島県結構いて笑う(笑えない
阪口円やべえな
番地と電話番号は?
親戚とか知り合いとか知ってる名前ないか見た(無かった)
個人晒してガス抜きですかね。
永久保存の価値あるな
生活保護の不正申請も返還させるまでコレでよろ
親族の名前で検索してしまった
BANDAI SPIRITS(バンダイ スピリッツ)









本名?何人?
載せると同時に差し押さえとかできんのか?
日本人より半島系を大事にして在日が多く治安の悪い地域
受け取れるからな
正直者がバカを見る世界や
確信犯やんけ
1人だけ桁がおかしくて2度見したわこんなん即逮捕でええやろ
不正給付は許せないが、そっちはそっちで許しがたい
そんな事で屈するような人は書かれるレベルの不正給付金受給しない
これはまだガッツリ犯罪なだけマシ
>反日国家の大阪や愛知
憎しみで言語野バグっとるやんけ